Ga naar inhoud

Teencilinder TJ 3610

Teencilinder kan voor diverse heftoepassingen worden gebruikt.
Vind een dealer

Kenmerken en voordelen

  • Kan snel in de juiste positie worden gebracht
Alles weergeven

Over de Teencilinder TJ 3610

Specificaties

Choose unit system
Details
Artikelnummer
150.012.049
Basis specificaties
model
TJ 3610
max. werkdruk
10443 psi
max. werkdruk
720 / 72 (bar/Mpa)
Prestatie
gesloten hoogte
448 mm
gesloten hoogte
17.6 in
max. hefhoogte
250 mm
max. hefhoogte
9.8 in
max. hefvermogen op zadel
26527 lbf
min. insteekhoogte teen
56 mm
min. insteekhoogte teen
2.2 in
max. hefvermogen op zadel
118 / 12 (kN/t)
max. hefvermogen op teen
98 / 10 (kN/t)
Afmetingen, gewicht en temperatuur
gewicht, gebruiksklaar
20.5 kg
gewicht, gebruiksklaar
45.2 lb
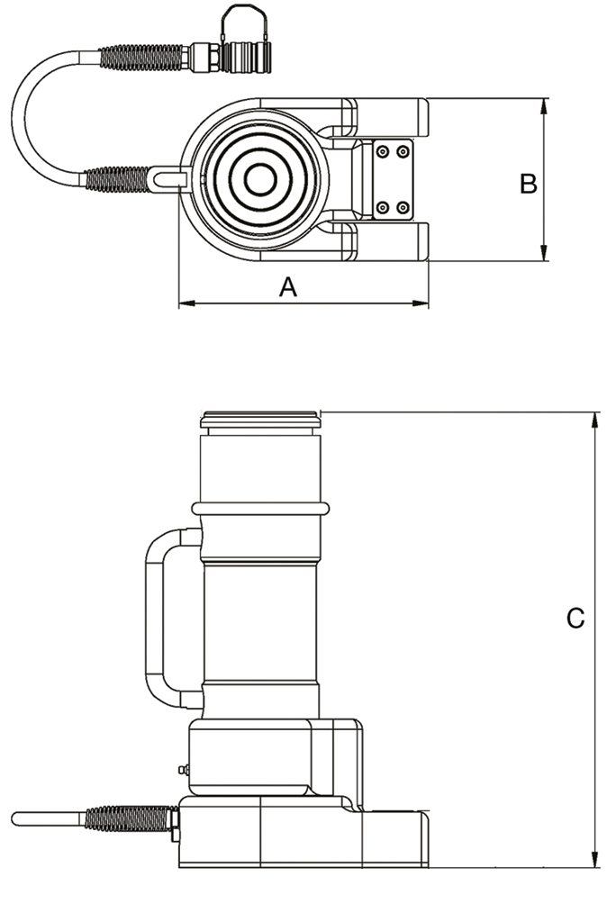
afmetingen (AxBxC)
245 x 160 x 448 mm
afmetingen (AxBxC)
9.6 x 6.3 x 17.6 in

Technical Drawing

Technical Drawing Of Toe Cylinder TJ 3610

Functies

Lichtgewicht en compact
  • Kan snel in de juiste positie worden gebracht
Veilig
  • Het is mogelijk om het vijzel op een veilige afstand te bedienen
  • Wanneer de teen wordt gebruikt, het vijzel kan naast een object worden geplaatst in plaats van er onder
De teencilinder kan ook worden bediend met een duopomp met een lage output
  • Gecontroleerd dalen
  • Werking van 2 vijzels op hetzelfde moment
Met een lage insteekhoogte en een een reeks van hulpstukken (ook klantspecifiek) is de vijzel geschikt voor een groot aantal trams en andere objecten
Stalen slijtplaten gemonteerd op voet en teen van de vijzel
360° draaibare aansluitslang voor optimale werking

Downloaden

Redgereedschappen Catalogus

Technical Drawing Of Toe Cylinder TJ 3610

Maak je ervaring compleet met deze accessoires

Vergelijk producten
Selecteer uw regio
Selecteer uw taal