Ga naar inhoud

Aluminium cilinder HLJ 50 A 6

Hydraulische vijzel om zware lasten te heffen of drukken, voornamelijk geschikt voor gebruik in nauwe ruimtes van ingestorte bouwwerken.
Standaard geleverd met:
  • Kantelzadel
Vind een dealer

Kenmerken en voordelen

  • Meer dan 50% lichter dan staal
Alles weergeven

Over de Aluminium cilinder HLJ 50 A 6

Specificaties

Choose unit system
Details
Artikelnummer
150.112.060
Basis specificaties
model
HLJ 50 A 6
max. werkdruk
10443 psi
max. werkdruk
720 / 72 (bar/Mpa)
Prestatie
gesloten hoogte
150 mm
gesloten hoogte
5.9 in
slaglengte heffen
61 mm
slaglengte heffen
2.4 in
max. hefvermogen
114653 lbf
max. hefvermogen
510 / 52 (kN/t)
Algemene specificaties
retourtype
lucht
Afmetingen, gewicht en temperatuur
gewicht, gebruiksklaar
7 kg
gewicht, gebruiksklaar
15.4 lb
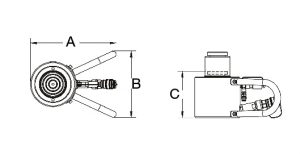
afmetingen (AxBxC)
279 x 214 x 150 mm
afmetingen (AxBxC)
11 x 8.4 x 5.9 in

Technical Drawing

Aluminium Jack HLJ 50 A6

Functies

Gemaakt van aluminium legering
  • Meer dan 50% lichter dan staal
Compact
  • Gemakkelijk te plaatsen in kleine ruimten
Twee grote handgrepen
  • Gemakkeijk in kleine ruimten te plaatsen, zelfs onder de meest moeilijk omstandigheden
Vijzel met kantelzadel
  • Passen zich tot een hoek van maximaal 5° aan de last aan
Werken in teamverband
  • Het grotere model past in de opening die is gemaakt door het kleinere model
Vijzel en stopring geanodiseerd
  • Corrosiebestendig
Draaggrepen beschermen tevens koppelingen en ventiel
Retour van de plunjer door de 6 bar luchtdruk in de vijzel
  • Eenvoudig te vullen met luchtpomp

Downloaden

Maintenance – Maintenance after use – HLJ 50 A 6 / 10

Redgereedschappen Catalogus

Aluminium Jack HLJ 50 A6

Vergelijk producten
Selecteer uw regio
Selecteer uw taal