Skip to content

Spreader SP 5260

Lightweight spreader for spreading, squeezing and pulling with one tool. Equipped with CORE Technology.
Standard supplied with:
  • Carrying handle with integrated LED lighting
  • Redesigned, ergonomic control handle with improved grip
  • CORE Technology: quicker, safer, easier
Find a dealer

Features & benefits

  • Easy to carry and handle
  • Reducing physical burden
Show all

About the Spreader SP 5260

Specifications

Choose unit system
Details
Article number
150.012.325
Basic specifications
model
SP 5260
equipped with (connector type)
CORE
max. working pressure
10443 psi
max. working pressure
720 / 72 (bar/Mpa)
Performance
max. spreading force
117350 lbf
theoretical calculated spreading force
875 / 89.2 (kN/t)
theoretical calculated spreading force
196708 lbf
min. spreading force (EN 13204)
13938 lbf
spreading distance
822 mm
spreading distance
32.4 in
max. squeezing force
28551 lbf
max. pulling force
18434 lbf
pulling distance
701 mm
pulling distance
27.6 in
max. spreading force
522 / 53.2 (kN/t)
min. spreading force (EN 13204)
62 / 6.3 (kN/t)
max. squeezing force
127 / 13 (kN/t)
max. pulling force
82 / 8.4 (kN/t)
directives
2006/42/EC
min. squeezing force (EN 13204 2025 Ed.)
11915 lbf
min. squeezing force (EN 13204 2025 Ed.)
53 / 5.4 (kN/t)
Dimensions, weight and temperature
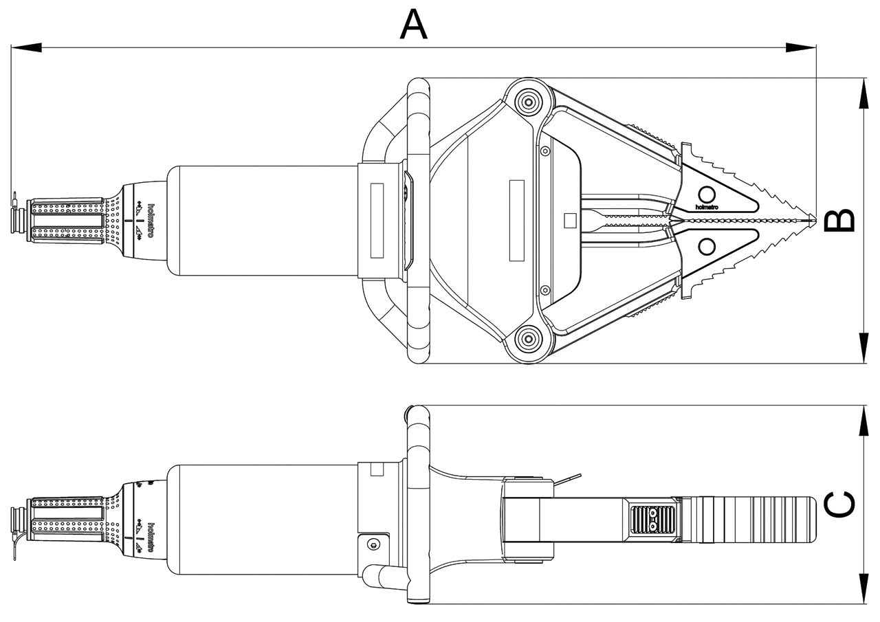
dimensions (AxBxC)
900 x 322 x 223 mm
dimensions (AxBxC)
35.4 x 12.7 x 8.8 in
weight (without hose)
19.6 kg
weight (without hose)
43.2 lb
weight, ready for use (EN13204:2025 & NFPA1960)
20.9 kg
weight, ready for use (EN13204:2025 & NFPA1960)
46.1 lb
Norms
EN 13204 classification
BS62/822-19.6
NFPA 1960 compliant
yes
NFPA 1960, HPF
18434 lbf
NFPA 1960, HPF
82 / 8.4 (kN/t)
NFPA 1960, HSF
26303 lbf
NFPA 1960, HSF
117 / 11.9 (kN/t)
NFPA 1960, LPF
8318 lbf
NFPA 1960, LPF
37 / 3.8 (kN/t)
NFPA 1960, LSF
13039 lbf
NFPA 1960, LSF
58 / 5.9 (kN/t)
EN 13204 2025 Ed classification
SP4-62/822

Technical Drawing

Technical Drawing Spreader SP 5260

Features

Lightweight, no concessions on performance
  • Easy to carry and handle
  • Reducing physical burden
  • Maximum performance at minimum weight
Effective profile on the spreading tips
  • Perfect grip in every situation
Ergonomic carrying handle
  • New design increases operator comfort in various working positions
New LED lighting in the carrying handle
  • No less than six LED lights with a higher light output
  • Rescuers can start their job right away, both during the day and at night, without working in their own shadow
New control handle
  • Improved ergonomic design, offering better grip for optimal tool control

Downloads

Maintenance after use – Spreaders 5000

Manual SP 52** (CL)

Technical Drawing Spreader SP 5260

Compare products
Select your region
Select your language